Hallo,
habe meinen 353, mit Unterstützung der früheren Werkstatt, nach 20 Jahren aus dem Schlaf/Garage geholt (H-Kennzeichen bekommen).
Lauft soweit gut, der Vergaser muss noch sauber eingestellt werden. An der Karo muss noch auf Schönheit gemacht werden.
Ob eine elektronische Zündung eingebaut wird entscheide ich später.
Gibt es da ein Votum, was genommen werden kann (IFA-Garage V1 oder 2?).
Habe ein Problem mit dem Mäusekino s. Bilder:
- insgesamt ist die LED-Anzeige von der Lichtstärke etwas schwach
- Tankstandsanzeige ist i.O.
- Temperatur wird nicht angezeigt, bzw. wiklich nur grün wenn ich länger gefahren bin
- Verbrauchsanzeige leuchten alle LEDs, ich bin mir nicht sicher, ob die Polung am Geber richtig ist
- oder ob Geber oder das Anzeigegerät einfach defekt ist
Kennt jemand den Fehler?
Habe im Netz dazu schon umfangreich gesucht (Wartburg-Peter), bin aber nicht zu einem Ergebnis gekommen.
Gruß Gunter
Problem Mäusekino
Re: Problem Mäusekino
Wegen der Zündung - kommt drauf an was du vor hast. 
Ich hab wegen des originialitäts Faktors eine EBZA2s (hab eine neue bekommen) eingebaut und sollte die mal streiken, dann würde ich so umbauen, das es optisch beim alten bleibt und die neue Technik im alten Gehäuse unter kommt.
Ansonsten sollen die Zündungen vom Thomas gut sein, hab da bisher nichts negatives gelesen.
Mäusekino:
- konnte man die Helligkeit nicht mit nem Schalter umschalten? Wegen Nachtfahrten und so?
Zum Rest - was sagt denn der Schaltplan, den gibts doch im Netz und in den Reparaturhandbüchern?
Alternativ könnte man das Ding auch mal durchmessen oder gegen ein gebrauchtes oder geliehenes anderes tauschen zum Test. Vorher sollte aber abgeklärt sein ob die Verkabelung richtig ist.
Ich hab wegen des originialitäts Faktors eine EBZA2s (hab eine neue bekommen) eingebaut und sollte die mal streiken, dann würde ich so umbauen, das es optisch beim alten bleibt und die neue Technik im alten Gehäuse unter kommt.
Ansonsten sollen die Zündungen vom Thomas gut sein, hab da bisher nichts negatives gelesen.
Mäusekino:
- konnte man die Helligkeit nicht mit nem Schalter umschalten? Wegen Nachtfahrten und so?
Zum Rest - was sagt denn der Schaltplan, den gibts doch im Netz und in den Reparaturhandbüchern?
Alternativ könnte man das Ding auch mal durchmessen oder gegen ein gebrauchtes oder geliehenes anderes tauschen zum Test. Vorher sollte aber abgeklärt sein ob die Verkabelung richtig ist.
Grüße
Re: Problem Mäusekino
GKM hat geschrieben: ↑Freitag 31. Oktober 2025, 14:58
Habe ein Problem mit dem Mäusekino s. Bilder:
- insgesamt ist die LED-Anzeige von der Lichtstärke etwas schwach
Die Helligkeit wird durch einen Fototransistor geregelt. Beleuchte (Taschenlampe) bzw. beschatte die Anzeige, sie muß dabei die Helligkeit verändern. ansonsten: Defekt.
- Tankstandsanzeige ist i.O.
- Temperatur wird nicht angezeigt, bzw. wiklich nur grün wenn ich länger gefahren bin
Prüfe den Temperatorsensor C120, dessen richtiger Widerstand liegt zwischen ca. 470 Ohm bei 20°C und ca. 120 Ohm bei 100°C.
Weiterhin den Thermostaten prüfen, wenn der nicht schließt bzw. zu früh öffnet, wird der Motor eben einfach nicht warm.
- Verbrauchsanzeige leuchten alle LEDs, ich bin mir nicht sicher, ob die Polung am Geber richtig ist
- oder ob Geber oder das Anzeigegerät einfach defekt ist
Beides möglich.
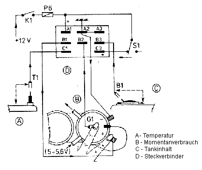
Zieh den Stecker vom Geber ab und teste die Anzeige mit der Fingerprobe wie unten gezeigt oder mit externer Spannung. Aber Vorsicht, der Eingang ist nicht gegen Überspannung abgesichert.
Siehe folgende Bilder. Die stammen von "Wabufan/Andreas" aus dem nicht mehr vorhandenen Forum
Was auch gelegentlich mal passiert, ist, den Stecker am rechten Scheinwerfer von der Höhenverstellungskontrolllampe fälschlich an einen vom Kombiinstrument bzw. Geber zu stecken. Das schrottet u.U. den IC A277 der Verbrauchsanzeige oder den Geber.
Der kleine Kippschalter im Armaturenbrett unterhalb des Instrumentes schaltet ggf. die LED-Anzeigen aus, außer der Rot-Anzeige, die wird in jedem Fall gezeigt.
Stellung links: LED an, Mitte: LED Aus, rechts: Test der Bremsflüssigkeitskontrollleuchte